Врезка круглая в воздуховод круглого сечения (седло)
НАЗНАЧЕНИЕ
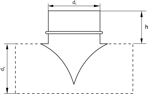
Врезка круглая в воздуховод круглого сечения седловидная используется для присоединения ответвлений круглых воздуховодов к основному вентиляционному каналу. Крепится механически к воздуховоду с помощью саморезов или заклепок.
«Н» (Нормальное)
Стандартная высота врезки 100 мм, диаметр врезки (d1) при оформлении заказа указывается первым и не может быть больше диаметра воздуховода (d2), который указывается вторым.


Оцинкованная сталь ГОСТ 14918-80
Нержавеющая сталь ГОСТ 5632-72
Черная сталь — ГОСТ 19903-74
0,5 мм, 0,7 мм, 0,8 мм
0,9 мм, 1,0 мм, 1,2 мм
Саморезы
Площадь, вес:

Особенности:
С помощью круглой врезки соединяются системы воздуховодов круглого сечения с разными диаметрами. Стандартное исполнение относительно врезаемой поверхности – 90° и 45°.
Врезка круглая в воздуховод круглого сечения седловидная в Челябинске от производителя. Заявку на изготовление круглой врезки (седло) и других фасонных изделий круглого и прямоугольного сечения можно отправить по электронной почте zakaz@pikuspeha.ru или по телефону +7 (351) 277-91-45. Менеджеры отдела продаж свяжутся с Вами в ближайшее время для уточнения деталей Вашего заказа.
Дополнительные товары:
Закажите звонок менеджера:
ООО "ВЕНТПРО"
- Косарева, 2 к.1
- +7 (351) 277-91-45
- zakaz@pikuspeha.ru
Производство полного спектра вентиляционных изделий из стали. продукция сертифицирована.